BTC/HKD-0.38%
ETH/HKD-0.44%
LTC/HKD-0.31%
ADA/HKD-0.81%
SOL/HKD-1.62%
XRP/HKD-0.67%來源:共享財經
作者:Neo
今年4月,運動巨頭品牌耐克向美國專利及商標局申請注冊名為Cryptokicks的商標。當時,耐克提出,這個新商標將用于:
加密貨幣硬軟件錢包;用區塊鏈技術管理的加密貨幣交易軟件;提供加密收藏品、加密藝術品和應用token渠道的移動應用;交易、存儲、收發和轉移數字貨幣的軟件;管理數字貨幣支付和交易等。
時隔8個月,當地時間12月10日,耐克旗下名為“CryptoKicks”的區塊鏈兼容運動鞋專利申請獲得了美國專利局批準。
而通過美國專利局的批準文件,耐克終于揭開了鞋+幣的神秘面紗。
炒鞋的歸宿可能還是炒幣
今年8月,圈內掀起了一股炒鞋潮,由于其極高的投機性和驚人的回報率,一時間響起了“別炒幣了,我們去炒鞋”的口號。
彼時,炒鞋身為新的資本游戲,完美復刻了炒幣的種種模式,比如稀缺性、轉賣手續費、入群驗資、莊家散戶、抽簽、山寨、一級市場、二級市場等等,甚至有App還開起了“炒鞋交易所”,價格走勢、盤口、成交量等一目了然,像是在告訴大家“炒鞋,我們是認真的”。
然而,即便如此,炒幣和炒鞋仍有較大差距。要知道,由于技術特性,每一枚代幣都可追蹤溯源,無法作假。而反觀炒鞋領域,用戶判斷鞋真假的唯一方式就是相信交易平臺,但即便如此,一些較大的售鞋平臺也常常被曝出售賣假鞋的消息。
耐克Web3平臺.SWOOSH“OurForce1”FirstAccess銷售時間將延長:5月17日消息,耐克旗下 Web3 可穿戴設備平臺 .Swoosh 宣布由于技術問題,其數字運動鞋系列Our Force 1的 First Access 銷售延長至北京時間 5 月 18 日 14:59,原定于 5 月 18 日 00:00 的 General Access 銷售將被推遲。.Swoosh 稱,此前英國和其他歐洲國家 / 地區的許多 .SWOOSH 會員都遇到了 2FA 和電話驗證問題,當前該問題已解決。此外,.Swoosh 在其博客文章中強調 Our Force 1不支持任何加密貨幣支付。[2023/5/17 15:08:00]
不過,通過耐克的新專利“CrpytoKicks”,用戶以后可能再也不用擔心買到假鞋了。
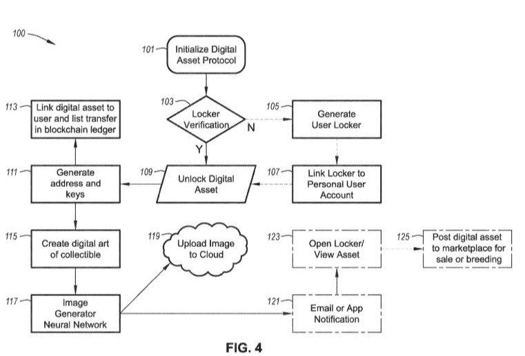
該專利介紹了用于鞋類產品的加密數字資產,制造、使用這種加密數字資產的方法,以及使用區塊鏈控制邏輯的分散計算系統,用于挖掘、混合和交換支持區塊鏈的數字鞋。
分散計算系統還包括一個服務器類(中間件或后端)計算機,該計算機可操作地連接到無線通信設備和加密數字資產注冊表。該中間件服務器計算機被編程來執行內存存儲的固件和軟件,以便通過分布式計算網絡從遠程計算節點接收電子交易確認,表明已驗證的鞋類從一方轉移到另一方。
服務器級計算機接收到交易確認后,從加密的關系數據庫中檢索受讓方的唯一所有者ID代碼,并生成與鞋類產品相關的加密數字資產。該加密數字資產包括通過具有相應訪問密鑰的唯一標記代碼供應的計算機生成的數字鞋。然后將加密數字資產鏈接到加密數字資產注冊表中的唯一所有者ID代碼,并將唯一數字鞋ID代碼和唯一所有者ID代碼傳輸到分布式區塊鏈分類賬,以便在事務塊上進行記錄。
耐克Web3平臺.SWOOSH將獎勵虛擬運動鞋創作者:金色財經報道,全球鞋業品牌耐克新推出的NFT平臺.SWOOSH周三表示,正在邀請用戶設計自己的數字可穿戴設備。.SWOOSH 社區成員受邀參加名為#YourForce1 的競賽,挑戰用戶在 Instagram 上制作視覺故事板來展示他們的鞋類設計。如果被選中,四名獲勝者每人將獲得 5,000 美元的獎金,并有機會直接與耐克設計師合作,打造他們自己的一對一數字運動鞋。
耐克補充說,這四種設計可能會成為其計劃在不久的將來推出的首個簽名系列的一部分。比賽于今天開始,1 月 29 日結束。耐克花了幾年時間來研究其 Web3 戰略。在11 月發布 .SWOOSH之前,該公司收購了數字時裝公司 RTFKT,邁出了進入元宇宙的第一步。2020 年,耐克表示將開始測試與區塊鏈技術相關的 RFID,以追蹤供應鏈流程。[2023/1/26 11:30:37]
簡而言之,就是耐克想要通過區塊鏈技術,實現耐克運動鞋的數字化。將消費者與數字化的耐克鞋綁定,獲得一個Token,通過交易?Token?來轉讓實體鞋的所有權,同時也可實現防偽溯源。

更具體地說,目前描述的技術依賴于區塊鏈技術建立的信任,使公司能夠控制代表其品牌數字對象的創建、分發、表達及使用。此外,這項技術還使公司能夠限制數字對象的總體供應,以便在需要時創造可控的稀缺性。
NFL、耐克、亞馬遜、蘋果、迪士尼、谷歌和FBI均在招聘加密人才:4月11日消息,Watcher.Guru發推稱,美國國家橄欖球聯盟(NFL)、耐克、亞馬遜、蘋果、迪士尼、谷歌和FBI現在都在招聘加密人才。[2022/4/11 14:17:18]
在耐克的專利書中,其表示,數字資產具有無限分發、稀缺性差等缺陷,而傳統實物市場則充斥著大量的山寨。而數字鞋的出現,則可以改善這種情況。
其表示,耐克可以創建許多具有不同特性、輪廓、顏色等的產品就緒設計,并可以將它們分發到一個或多個數字平臺上,然后可以監視不同產品設計或特性的流行度、價值、需求和虛擬使用。通過這樣做,耐克可以獲得對產品實時需求的有價值的理解,這可能有助于為未來的生產設計確定優先級。
官方手動操控“代幣”稀缺性,再加上一旦這類區塊鏈鞋推出,單論其與傳統鞋的成本差和差異性,不難想象,這類鞋必將價格不菲,對此,有人感嘆,“官方炒鞋,更為致命”。
靈感來源加密貓,以后鞋也能產“崽”
在專利書的參考資料一欄,有一篇GregMcMullen于2017年撰寫的“DoYouReallyOwnYourCryptoKitties”的文章。
眾所周知,加密貓曾是以太坊上最火爆的Dapp殺手級應用,其除了利用區塊鏈特性為用戶創造永久的虛擬寵物之外,還有一個獨特玩法,即交配產崽。
動態 | 比特幣投資回報率高于耐克、沃爾瑪和可口可樂等巨頭的回報率:據AMBCrypto消息,最近一項分析將比特幣與全球知名的IPO及其回報率進行對比,其結果顯示,比特幣的投資回報率超過了主流股票。假設比特幣2009年初始投資100美元,現在其持有者將獲得719萬美元回報,與此比較:耐克(Nike)1980年IPO投資100美元將獲得回報607美元、沃爾瑪(Walmart)1969年IPO投資100美元將獲得124萬美元回報、可口可樂(Coca Cola)1919年投資100美元將獲得回到略高于100萬美元。比特幣勝過了所有這些巨頭。[2019/7/20]
在該游戲初始階段,開發者銷售出100個創世貓,同時每隔15分鐘還有一個0代貓誕生可以用于買賣。
每只貓長相都不同,基因可以傳給下一代:如果讓兩只電子貓交配,生出的孩子會遺傳到各自的256個基因組,影響外觀、個性、特征等,總計有40億種變化可能。
而現如今,耐克構想的加密鞋也會擁有這一特性。
據了解,耐克基于以太坊發行數字資產,其技術標準為以太坊?ERC721?或?ERC1155,目前這兩個標準也被應用于游戲領域。
當前,多數以太坊token項目是使用的ERC20代幣標準,而這些項目的token之間是可互換和可分割的,而對于鞋子這類擁有獨一無二屬性的資產而言,ERC20代幣標準顯然并不適用,而ERC-721標準或ERC1155標準,則屬于不可互換代幣標準,例如加密貓、萊茨狗等區塊鏈游戲就是使用的這類標準。
動態 | 耐克注冊的商標或與加密貨幣業務相關:據chepicap消息,據美國專利商標局表示,耐克最新的商標可在商標電子檢索系統(TESS)中找到。通過在該系統中搜索“Cryptokicks”一詞,可看到商標序列號883945295,其創建于2019年4月19日。該商標屬耐克公司(Nike Inc.)名下,這或意味著這家美國跨國公司開始了一項新的加密業務。[2019/4/25]
而在耐克的專利書中,鞋與鞋可以產生“后代鞋”,并有機會變成實體鞋。專利申請書上說:“將數字鞋存儲在加密貨幣錢包或其他數字區塊鏈儲物柜中,將數字鞋與另一只數字鞋混合‘繁殖’,可以創造‘鞋后代’。根據鞋子制造規則,可以將新‘繁殖’的鞋子后代定制為新的有形鞋子。”

根據專利書,唯一的數字鞋ID代碼包括一個密碼令牌密鑰,該令牌密鑰帶有一個代碼串,被分割成一系列代碼子集,其中第一個多個代碼子集包括指示數字鞋屬性的數據。而其余代碼子集則分別代表了數字鞋的基因、表型數據、配色、材料、模型數據等。

而正是基于此,讓加密鞋與加密貓一樣,具有多組合型基因以及海量變化的可能,而一旦新的后代鞋繁殖成功,用戶則可以根據可接受的鞋子制造規則,為新培育的鞋子后代定制為一雙新的、有形的鞋子。
除此之外,一些可選功能還可以包括:
用于在兩個或多個數字鞋之間繁殖計劃的代孕功能;
由不擁有數字鞋的第三方實體提供的育鞋/保姆功能;
旨在使數字鞋看起來更逼真的動畫特征;
值得一提的是,雖然這些虛擬鞋與現實世界的物理產品相關聯,并受到密碼令牌的保護。但在一些實施例中,數字資產不是與現實世界的物理產品相鏈接,而是與2D或3D設計文件、呈現或繪圖包相鏈接,物理產品可以從這些設計文件、呈現或繪圖包構建。
而數字鞋的“繁殖權”可能受一個或多個現實世界制造限制的約束,每一代數字鞋的所有權,可通過原始關聯虛擬產品的加密密鑰綁定到原始的物理鞋。
不僅能在市場交易,還能玩游戲
目前為止,我們可以看到,數字鞋和代幣共同代表一個“CryptoKick”,而用戶可以將自己的CryptoKick綁定到DigitalLocker。
那么,CryptoKick如何在加密貨幣市場進行交易呢?
耐克的專利書表示,消費者在獲取加密鞋之前,首先需要獲得一個區塊鏈的寄存地址。這個區塊鏈鎖可以用來存儲屬于CryptoKick的NFT的私鑰,也可以鏈接到物理鞋的原始制造商注冊的個人用戶帳戶。
在獲得加密貨幣后,所有者可以購買、出售、混合、收集或交易加密貨幣,例如,使用法幣和或數字貨幣。在某些示例中,實體可能維護一個數字在線市場,其中包括一個出售的CryptoKicks庫存或一個可以在個人之間進行交易的市場。

而用戶的CryptoKick不僅可以繁殖新的數字鞋,還可能會繼承加密貓可玩的特性。
耐克表示,至少在某些實現中,可以將CryptoKick編程為“活的”數字寵物,供用戶喂養、清潔、娛樂或以其他方式照顧,以確保寵物快樂和健康。所有者可以自己照顧CryptoKick寵物,也可以讓第三方用戶照顧CryptoKick寵物。
隨著CryptoKick寵物的進化——從一個電子寵物嬰兒成長為蹣跚學步的幼兒,然后是學齡前兒童,如此等等,直到成年——CryptoKick的一個或多個屬性會隨著年齡的增長而自動改變,或隨著時間的推移而解鎖。此外,隨著CryptoKick寵物在不同的生命階段“成長”,它可能會開啟一個用戶可以制作真實版鞋子的條件。例如,如果一個CryptoKick寵物已經演變成一個藍色運動鞋,而用戶已經解鎖了該選項,那么用戶則可以選擇讓耐克制造這一新鞋。
可以看到,在耐克的設想中,如果將CryptoKick視為代幣,其既可以在加密貨幣市場進行交易,也能進行小范圍的關于鞋的交易。而如果將CryptoKick視為寵物,其除了繁殖屬性之外也可以自然成長。
不僅如此,在某些實現中,用戶的CryptoKick可以被導入到一個或多個其他數字平臺中,例如,可以作為電子游戲角色的皮膚,由用戶開發和/或控制。也可以將CryptoKick導入到游戲中,作為游戲角色的皮膚或者能力屬性。

總而言之,在耐克的設想中,CryptoKick可維護稀缺性、可杜絕造假、可交易、可用來玩游戲。而這一設想無疑重塑了傳統制鞋廠商的業務流程,也能大大增加耐克的用戶粘性。
可以看到,耐克為自己的CryptoKick構想了多重屬性和應用場景。對此,為滿足耐克的多重設想,有人認為,耐克將來可能會發行以太坊token,而且是采用雙token模型:其中一種token對應于實體鞋,而另一種token則對應數字鞋,用戶可分開交易它們。
這一設想認為,這兩種Token會分別代表實體鞋的價值和品牌價值。實體鞋的價值將接近于耐克生產它的成本,而耐克的品牌價值將完全轉移到數字鞋上,這同時就意味著,偽造實體鞋基本已失去了意義。
而在耐克的專利書中,其也表示,“在某些情況下,CryptoKick最初可能與實體產品無關,而是作為品牌推廣活動、事件、時刻或體驗的一部分贈送給用戶。”
目前,耐克關于CryptoKick的構想仍在進行中,雖然一切尚未落地,但顯而易見的是,鞋+幣的模式已經初具雛形,而就目前來看,這一模式具有太多可能。
Tags:TOKCRYPCRYCRYPTOimtoken在中國合法嗎CRYPTO幣CAKECRYPTCryptoflix
來源:小蔥區塊鏈 凌晨2點半左右,比特幣急跌,在不到10分鐘的時間里跌近3.5%,一度逼近6800美元,創11月28日新低.
1900/1/1 0:00:0012月19日消息,據外媒theblock報道稱,對沖基金城堡投資集團已向MtGox數千名債權人發出了新的信函,表示其愿意以當前比特幣市場價的七折收購他們的債權.
1900/1/1 0:00:00文丨互鏈脈搏·金走車 未經授權,不得轉載! 12月25日,國證指數此前一天發布的區塊鏈50指數漲幅0.66%,較發布日漲幅收窄。12月24日,深交所發布兩市首個區塊鏈指數——“區塊鏈50指數”.
1900/1/1 0:00:00據外媒今日消息,聯儲理事萊爾·布雷納德周三對Facebook的天秤座數字貨幣項目發起了抨擊,稱其面臨“一系列法律和監管方面的核心挑戰”,包括如何與一系列基礎資產掛鉤.
1900/1/1 0:00:00無論在哪個行業中,總有一些企業的業績表現能遠遠超過行業平均利潤水平。這往往得益于企業選擇的商業模式。概括來講,商業模式是一個企業創造價值的核心邏輯.
1900/1/1 0:00:00作者:Chainalysis? 譯者:盧江飛 來源:鏈聞ChainNews2019年中一個總計價值達到20億美元的加密貨幣龐氏騙局的破滅,有可能會給2020年比特幣價格的走勢帶來持續的影響.
1900/1/1 0:00:00