BTC/HKD+0.16%
ETH/HKD-3.08%
LTC/HKD-2.36%
ADA/HKD-4.36%
SOL/HKD-0.26%
XRP/HKD-3.11%作者:OPResearch
嘗試改變現狀是人類的天性,當這一動力與科技、資本、信息、數據結合時,人類社會將不可避免地發生變化,不可避免地朝新興社會形態、生產關系發展。
Web3.0——互聯網的下一階段,便是這一過程最好的例證。基于區塊鏈及相關技術的發展,Web3.0漸行漸近,元宇宙、GameFi、SocialFi、X-to-Earn、DID等概念和應用進入大眾視野,掀起了一股熱潮。這股熱潮帶來的不僅僅是應接不暇的各種新應用、新玩法,也不僅僅是資本推動下的投資盛宴,更重要的是,當浪潮退卻,大浪淘沙后留下了什么。
項目也許會消亡,應用可能會被替代,資本會輾轉不同的賽道,但Web3.0的底層邏輯、價值觀將對當前Web2.0范式下的人類社會產生了深刻的影響。改變不會一蹴而就,變化亦是循序漸進,可最終我們進入了新時代。
不可否認,人類在Web2.0范式塑造的生活和經濟模式下獲得了極大的便利,Web2.0也促進了人類社會地不斷進步和發展。但也許正因為人們太過熟悉Web2.0塑造的生活方式,太過習慣這一范式下發生的種種現象,人們很難察覺其中的“奧妙”。在Web2.0范式下,每個人本質上是這一模式的“消費品”,雖相較于更早期的傳統年代,Web2.0賦予了人們更多的選擇空間和變現渠道,但人依然還是這一模式的“從屬品”,是這一模式下的一顆螺絲釘,并沒有真正的把控能力。
同時,不僅僅是個人,就連企業、公司、機構也受制于Web2.0所制定的各種條條框框,需要依照固有的一套規則設計產品和運轉。雖然企業、公司、機構相比個人擁有更強大的力量和資金去優化一些設置,但也不能完全突破其所屬的Web2.0范式,有時需要犧牲產品、應用的用戶體驗或拋棄設計之初的理念去實現盈利。
好在我們并沒有喪失反思思考的能力,好在技術總是在不斷發展,就像現實生活中每個人會在重要人生路口把握自己的命運一樣,在互聯網的虛擬世界中,我們也要擁有同樣的能力。
本文將從“商業模式”、“經濟模型的激勵機制”和“信息資產所有權”視角對比Web3.0和Web2.0應用,看看Web3.0較之Web2.0應用有哪些改變,有哪些突破,還存在哪些問題。更核心的是,探索在Web3.0新的敘事下,人們是否具備更多掌控自己“”鏈上命運”的能力,是否能真正擁有屬于自己的世界。
1、商業模式的改變
Web3.0為傳統Web2.0應用帶來了新的商業模式,從根源解決了Web2.0應用公司盈利方式單一的問題,同時也為用戶帶來交互體驗的提升與客觀的收入,其中最為明顯的就是對社交媒體和轉賬支付類應用革命性的改變。
社交媒體
社交媒體Web2.0應用受限于自身收入來源單一不得不犧牲用戶體驗,加入生硬的會員機制,引入廣告。而為了獲得更多的廣告,社交媒體應用們逐漸背離自身產品的定位,開始追逐流量,進行流量變現以維持生計。不過由于社交媒體應用的平臺性質,其可以基于用戶作品所產生的影響來做廣告,并從中抽成,這一體系目前在Web2.0已日漸成熟。例如Twitter和微博的廣告帖,YouTube的視頻廣告分成,TikTok的廣告植入等。其實該體系已經有Web3.0的影子在其中了,不過大部分平臺都依仗自身平臺優勢擠壓平臺創作者的分配比例。對于會員制這種提前付費來獲得服務的方式來說,Web3.0應用也有采用,但是Web2.0卻選擇犧牲用戶體驗而上線所謂會員專屬廣告和會員超前點映等,違背當初會員機制承諾,吃相十分難看。
Hop Protocol集成Arbitrum Nova:7月14日消息,跨鏈橋Hop Protocol宣布集成Arbitrum Nova,支持將ETH和MAGIC跨鏈至Arbitrum Nova。[2023/7/14 10:54:27]
而Web3.0則基于智能合約代碼的開源性和白皮書經濟模型的介紹,完全透明地向用戶收取相應費用并提供與之對應的服務。例如,Mirror通過生成NFT來為每一篇文章確權,用戶可以毫無顧慮的創作,無需擔心抄襲、洗稿和被刪的問題。同時,創作人可以在文章下發起眾籌,通過向參與眾籌用戶發放份額代幣——“文章NFT”,以將每次交易與投資者分紅。而分紅的比例是明確的,最終可獲取的金額也是可以通過文章交易額來推算的,一切都是透明且可信的。盡管Mirror的經濟模型相對比較輕,沒有太夸張的盈利機會,但是由于其舒適的用戶體驗和加密原生屬性,已經有眾多創作者從Medium轉戰Mirror。
另一個案例是Monaco,作為一個現象級的SocialFi應用,雖然存活時間比較短,但是其出現開啟了SocialFi的熱點,也激發了項目方們要革Twitter和微博的命的熱情。在其之后,SocialFi項目們無一不是在其“所有權和治理權由用戶決定”和“內容即挖礦”的基礎上進行的創新。在Monaco中,用戶發布內容和收到的交互行為都可以獲得收益,同樣的這些收益都是透明且可預測的,這使得用戶樂于分享和參與互動,而項目方也可以光明正大的從中抽成。
最近熱門的LensProtocol作為Aave團隊開發的部署在Polygon上的SocialFi,則更是吸引了大量關注。LensProtocol將自己定義為“開放的、可組合的Web3.0社交媒體協議,允許任何人創建非托管的社交媒體資料,構建新的社交媒體應用程序”。具體來說,任何應用程序都可插入Lens的開放社交圖,并且用戶通過NFT擁有自己的數據,能夠將其部署到任何基于Lens協議構建的應用程序中,NFT決定了用戶投票權重和收益分配。但LensProtocol剛剛上線不久,其商業模式是否可持續還有點時間的考驗。
而除了Mirror、Monaco和LensProtocol,其他媒體類Web3.0項目也是突破了估值瓶頸,比如Audius。Audius作為去中心化的音樂流媒體協議,解決了傳統音樂平臺上,創作者對于版權的掌控過弱且難溯源,創作者獲得的收益過少和作品發行渠道被壟斷的問題。當前Web2.0音樂應用的版稅分配中,音樂人能夠獲得的收入較少。通常一首歌的版稅42%分給唱片公司,約30%分給操作系統,約20%分給互聯網播放平臺,詞、曲作者總共能分到8%,歌手則大多由唱片公司與其結算。如果詞曲被多層代理,版稅也會被層層分割,到創作者手上會更少。而這還是在版權清晰、分配及時且透明的情況下。
反觀Audius,其在音樂收聽、歌曲共享、作品收藏、版稅分成、自由創作等不同維度下,將創作者和粉絲直接聯系起來,打破原有行業中的壟斷及低效問題,不僅增加了創作者的收入以激勵其創作,也改善了聽眾用戶交互體驗的和收藏需求,而后續NFT衍生市場則可以賦予創作者和項目更多的收益。這使得其以6m月活用戶和26k的錢包地址數,即13%Crypto用戶,獲得了$311.7m的流通市值和$478.5m的全釋放市值。而全球最大的音樂平臺Spotify,擁有428m月活用戶,其市值也不過$21.9b。
BNB Chain推出基于OP Stack的Layer2網絡opBNB測試網:6月19日消息,BNB Chain推出基于OP Stack的Layer2網絡opBNB測試網。開發人員預計opBNB測試網將達到每秒4,000筆交易的速度,目標成本為每筆交易0.005美分。[2023/6/20 21:48:10]
可見Web3.0社交媒體應用帶來的行業商業模式的改變,不僅為項目方提供了更多元的收入來源和更持久且穩定的現金流,也給了用戶包括創作者前所未有的公平和自由,以及順暢的交互體驗。而Web3.0應用的高度可組合性,也給予了他們未來的發展更大的想象空間。

轉賬支付
就轉賬支付應用來說,電子轉賬支付已成為人們重要的一種生活方式,現實生活中人們幾乎不攜帶現金,而是一部手機,下載Web2.0應用如第三方支付APP便可完成日常轉賬和支付需求。但隨著電子轉賬支付的需求越來越頻繁,金額也越來越大,人們對中心化機構承擔處理轉賬支付功能顧慮日益增加。
中心化機構主要商業模式為收取轉賬支付、金額提現等服務的手續費;獲取代售理財產品的返傭;投放廣告;基于用戶存款做貸款賺取的利差等。另外,由于銀行間隔離和國際外匯的管控,跨行轉賬和跨境轉賬流程手續十分繁瑣復雜,銀行或轉賬支付應用會從中收取高額的手續費,同時限制轉賬的單次金額和總金額。這些盈利點事實上并不會帶來其產品服務的提升,反而會影響用戶體驗。
不過,支付寶、Paypal等應用推出的掃臉支付等支付方式確實優化了用戶的支付體驗,但他們卻并沒有以此作為盈利點。大部分中心化機構都以存款利息與貸款利息的點差作為主要收入來源,例如銀行存款利率約為年化1-2%,而貸款利率則約為年化3-4%;對于其他分期服務來說,貸款利率則可以高達年化10%。可見中心化機構從中抽取的大量的收益,這用戶卻不得不接受,因為沒有第二個選擇。
基于區塊鏈去中心化服務的支付應用如MetaMask、TP錢包等,雖然本質上也是通過接入中心化理財服務和去中心化挖礦協議來賺取返傭或點差,投放廣告或出售硬件錢包等衍生產品,以及收Swap手續費來作為盈利點,但其轉賬過程比起傳統Web2.0方式更加簡易便捷,手續費更低廉,同時沒有任何的限制,特別是在處理跨境支付交易時,其更具備時效性和可操作性。
由此看來,似乎Web3.0支付應用與Web2.0轉賬支付領域中心化機構類似,都是基于其提供的產品本身功能之外的服務來保持盈利,而Web3.0錢包甚至還不能托管用戶資產,進行生息投資等。但是以多簽錢包為藍本的智能合約錢包卻可以打破這個僵局,其可以通過NFTgated的方式擺脫私鑰泄漏的問題,允許用戶對自身錢包進行無需信任的轉移,如出售、租賃、代操作等。這將使得轉賬支付的商業模式發生質的變化,在智能合約錢包的基礎上,可以開發出一系列的優化用戶體驗,甚至顛覆傳統支付和轉賬模式的功能,例如隱私支付、綁定支付、支付即簽約等等。而該類智能合約錢包的盈利點可以建立在其提供的這些創新功能之上,另外,其還可以基于智能合約公開透明的為用戶資產進行理財增值,按約定好的比例分配收益,而不是單方面的賺取點差。
更重要的是,對于Web3.0來說,錢包的作用還不僅僅體現在轉賬支付領域,也是目前人們進入Web3.0的一個重要入口。很多區塊鏈項目使用錢包進行身份認定和登陸,并據此衍生出一系列有開創性的功能和模式。Web3.0時代的支付應用已超越了轉行支付本身的基本功能,或多或少地融入了社交、元宇宙色彩。
GameStop NFT市場月內交易額超2200萬美元:金色財經消息,GameStop在Twitter上表示,GameStop NFT市場在啟動一個月內,NFT交易額已達到22,000,000美元以上。[2022/8/12 12:21:07]
2、經濟模型對用戶的激勵
Web3.0時代的應用相對于Web2.0時代的另外一大飛躍性進步是在能確定信息和資產所有權的基礎上,項目內部往往可形成完整的可激勵模型,這同時可以看作為Web3.0商業模型的內在展現。通過對于系統中所有生態參與者的可激勵系統,Web3.0相比于Web2.0將擁有更充分的驅動力和更旺盛的生命力,這也將改變每一個參與的用戶的生活。以下將分別以不同領域的Web3.0應用為例,著重針對激勵模型來對比Web2.0與Web3.0的最主要區別。
學習與運動
學習和鍛煉對于大多數人來說是伴隨一生的事情,例如許多人喜歡通勤途中打開手機背單詞、看小說、看新聞,或者是健身房健身等等。大家往往通過個人的自驅力,像“我認為背單詞可以有利于我的留學”“我想通過鍛煉瘦下去”,或者外部壓力,如“想要通過考試就得背單詞”“學校每天硬性要求課間操”等來達到“延遲滿足”。。在Web2.0時代的學習/運動類應用中,如何讓用戶使用“逆人性”的應用,保持恒久的激勵來達到延遲滿足是一個所有應用開發者面臨的難題,然而現在這種困難可能會在Web3.0的世界里得到解決。
在當前Web2.0的應用中,能夠做到經濟激勵的少之又少,與之相反的是,大多數應用要求對學習或者知識服務進行付費,或設置會員門檻以獲得會員費收入,又或加入廣告借助流量變現,顯然,這一點不但和激勵機制無關,還阻止了人們學習與鍛煉的熱情。眾多新聞APP要求付費觀看關鍵新聞,背單詞APP要求會員解鎖關鍵功能,以及在各種時刻橫亙在眼前的廣告……這樣的例子比比皆是。而作為主打知識分享平臺的知乎,從最初的行業大牛分享認知廣受好評,到如今專欄里的牛鬼蛇神,以及充斥著各個角落的廣告,盡管這讓平臺用戶有了一定程度的盈利能力,但是其最終目標也變成了了擴大流量吸引更多的讀者,以獲得更高的廣告報價,這讓整個知乎的業務邏輯發生了巨大變化,嚴重破壞了用戶使用體驗。
另一個相反的案例是Wikipedia,既不向用戶收取會員費,也拒絕加入廣告。這導致Wikipedia作為一個具有高度使用需求的產品,卻難以做到盈利。讓用戶憑借一腔熱血參與分享信息是不長久,也是不穩定的。所以Wikipedia是一個好的服務,卻不是一個好的商業化產品。
而Web3.0的Token經濟剛好可以解決這一問題,事實上傳統Web2.0的應用也嘗試過使用Token經濟的概念,最好的例子就是積分制度:應用對用戶的貢獻行為進行積分獎勵,而積分則能夠用來兌換部分產品服務,或者進行其他價值交換。不過Web2.0的局限性大大限制了積分制度,積分的使用場景并沒有被打開,也缺少對用戶的確權保障。這讓Web3.0應用的出現更具有革命性的效果。
Token經濟的引入使得自驅力產生經濟效益,從而形成一定的外部性。就如最近大火的APP——StepN允許用戶通過戶外跑步來來獲得Token獎勵,這讓用戶擁有了除自驅力之外的動力,并且用戶的心態也不同于傳統打金的GameFi,因為哪怕沒有賺到錢,也鍛煉了身體收獲了健康。事實上這和當下的“對賭學習群”的機制基本一致,用戶基于對自身的學習預期,前期支付一定費用,通過學習的動作來獲取持續收益。并且這種獎勵機制是根據用戶運動行為實時結算。用戶可以清晰地看到自己的跑步速度/時長/路線等不同維度并得到相對應的獎勵,這種即時反饋的經濟系統的建立是順應人性的。很多用戶在使用StepN后都有一種相同的類似上癮的感覺,就是這種機制在起作用。
K-pop 經紀公司 Fantagio 與 Crypto.com 簽署諒解備忘錄,將共同開發 NFT 項目:8月4日消息,韓國娛樂機構 Fantagio 周三宣布與數字資產平臺 Crypto.com 簽署諒解備忘錄(MOU),將共同開展 NFT項目。
在科斯達克上市的 Fantagio 管理著 ASTRO 和 Weki Meki 等 K-pop 偶像團體,以及包括車銀優和邕圣佑在內的韓國演員。[2022/8/4 3:55:23]
最后,Token經濟也為其引入一定外部性,例如代跑,代閱讀,快速完成任務攻略等等,吸引更多用戶進入相關產業,給予傳統Web2.0應用壓力,促使更多的應用基于一定的經濟模型專注于產品質量以提供更好的用戶體驗,而不是單純思考如何吸引流量、融入廣告或想方設法的收錢。

游戲
在這個節奏不斷加快的時代里,游戲已經成為現代人生活相當重要的一個板塊,與學習和運動類的應用不同的是,游戲類應用以娛樂為目的,采用較短的正向反饋,所以在激勵模型的設置上,與前面一類稍微不同,在游戲類應用里,用戶的自驅力主要依靠游戲性和娛樂型來實現,而激勵模型則更加側重資源的分配和資產確權。
Web2.0時代的游戲中,游戲開發商普遍采取集中投資-中心化開發-玩家消費的模式,傳統游戲幾乎控制著百分之百的游戲利潤的回報,玩家是純粹的消費者:例如騰訊掌控了旗下王者榮耀幾乎所有的直接利潤。但也如同前面的學習和運動類應用一樣,游戲類應用也在優化激勵模型,使用Token經濟概念方面做過多次類似的嘗試:Dota2TI系列賽獎金由玩家購買游戲類產品的利潤抽成來匯聚,選手們可以通過比賽獲得獎金,玩家在獲得游戲類裝備的同時也為Dota2的生態做出貢獻,而在這種模式下,TI的獎金可以高達幾百萬美金。
EVE游戲中所有道具,物品,飛船載具等都由玩家自行生產,由玩家自己完成從挖掘原材料-加工-市場售賣的完整產業鏈,并且形成游戲內的經濟體系。
夢幻西游的經濟模型被作為Gamefi的優秀典型反復研究,作為一款接近20年的老游戲,經濟體系仍然成熟保持著活力,并且裝備還保持著升值……不可否認,相當一部分Web2.0時代的游戲在這些方面都取得了一定成功,但基于Web2.0的限制,這些進步仍然是不足夠的,例如Dota2雖然采取該種模式獲得了超高額的獎金也讓玩家和職業選手都參與了生態貢獻和參與成就感,但其實并為對投入了真金白銀的真實用戶帶來現金利潤,用戶本質上仍然是消費者;EVE和夢幻西游生態雖然完整并且有著成熟的經濟體系和自由市場,但是項目方為了避免游戲經濟體系崩潰,反復調整干預經濟模型,追求游戲長久發展,打壓工作室和商人,損害了部分玩家的利益,并且沒有區塊鏈技術的支撐,游戲難以保證用戶游戲資產和信息和核心利益。
在這些游戲在Web2.0時代對新機制和經濟模型的嘗試取得了不俗的成績的同時這些嘗試應該引發對Web3.0游戲應用的一些思考:與傳統Web2.0時代游戲所不同的是,在Web3.0時代的游戲中,游戲開發商的抽傭率極低,大部分利潤都將返還給玩家群體本身:例如曾經的PlaytoEarn游戲龍頭AxieInfinity協議產生收益的方式是:當玩家在該游戲中的市場上購買和出售AxieNFTs時,Axie協議將收取4.25%的費用,相比于傳統游戲百分之百的抽傭率,游戲產生的大部分收益都將返還給玩家本身。
Snoop Dogg和The Sandbox聯名NFT Avatar將于明日發布:2月22日消息,美國說唱歌手 Snoop Dogg 宣布 Sandbox 聯名 NFT Avatar 將于明日在 The Sandbox 上發布,總量 10000 枚,其中白名單用戶 7000 枚,公開售賣 3000 枚,初始發售價為 150 SAND。白名單快照時間為北京時間 2 月 23 日 8 時。
此前報道,持有 Snoopverse 早期訪問通行證的用戶自動獲得白名單,Snoopverse 早期訪問通行證供應有限,價格為 525 SAND,折合 2,174 美元,持有者可提前訪問 Snoop Dogg 在 The Sandbox 構建的特色內容和產品。[2022/2/22 10:07:50]
而在埃隆.馬斯克的媽媽梅耶.馬斯克作為經理人的游戲,幣安MVBIII排名第一的項目鏈游RadioCaca中,這一市場抽傭率為百分之十,且這筆費用將全部用于代幣的和NFT的回購。另外,RadioCaca通過銷售RACANFT賺取了超過60,000BNB。并且RadioCaca將用部分收益購買數十億RACA來燃燒,減少市場流通量,同時還將大部分收益投入到流動性池中。而按照數據統計,AxieInfinity在過去兩年時間內已經在菲律賓、委內瑞拉、越南等地帶動了超過20萬人參與就業,DAU高峰超過100萬,收入甚至要高于疫情蔓延前的水平。
由此看來,玩家群體是Web3.0時代游戲經濟模型中最重要的一部分,這意味著整個游戲的經濟模型是點對點的,在大部分情況下,玩家為玩家提供資金,交易和流動性,而非是這些Web2.0時代的游戲開發商。在這種模式下,游戲玩家也將從單純的消費者變成游戲的共同開發者,生態建設者和營銷者。游戲開發商的位置將更多類似于提供平臺服務而非管理和控制者,而玩家則可以以各種方式來深度參與游戲,如生產游戲道具,建造游戲設施,鑄造游戲所需要的NFT甚至塑造世界觀,創造游戲歷史等等。如著名的Sandbox在以太坊區塊鏈上構建了一個元宇宙,玩家可以在此之上自由地創造他們自己的虛擬世界,利用他們的創造力和想象力,并按自己的意愿定制。在區塊鏈技術的支持下,Sandbox允許玩家擁有自己在游戲中創造的一切:Sandbox上的每個游戲內資產都會自動轉換為NFT。它將允許玩家驗證資產的獨特性和所有權。
試想一下一款區建立在區塊鏈技術上的MineCraft:玩家們可以完全按照個人意愿建設游戲乃至元宇宙世界,如在自己的土地上建造王國,市場,甚至演藝場館,運動場,并以此開展各種藝術展覽,演唱會,或者游戲比賽,甚至依靠這些活動來獲取收入。Sandbox目標成為依靠玩家驅動的去中心化游戲平臺乃至元宇宙世界,這意味著游戲玩家才是核心,除了享受到游戲本身帶來的樂趣之外,還將因為自己的選擇和努力甚至投資來享受到游戲發展的切實回報,這將使得玩家更好的扮演游戲營銷者與建設者的角色。
3、信息和資產所有權回歸用戶
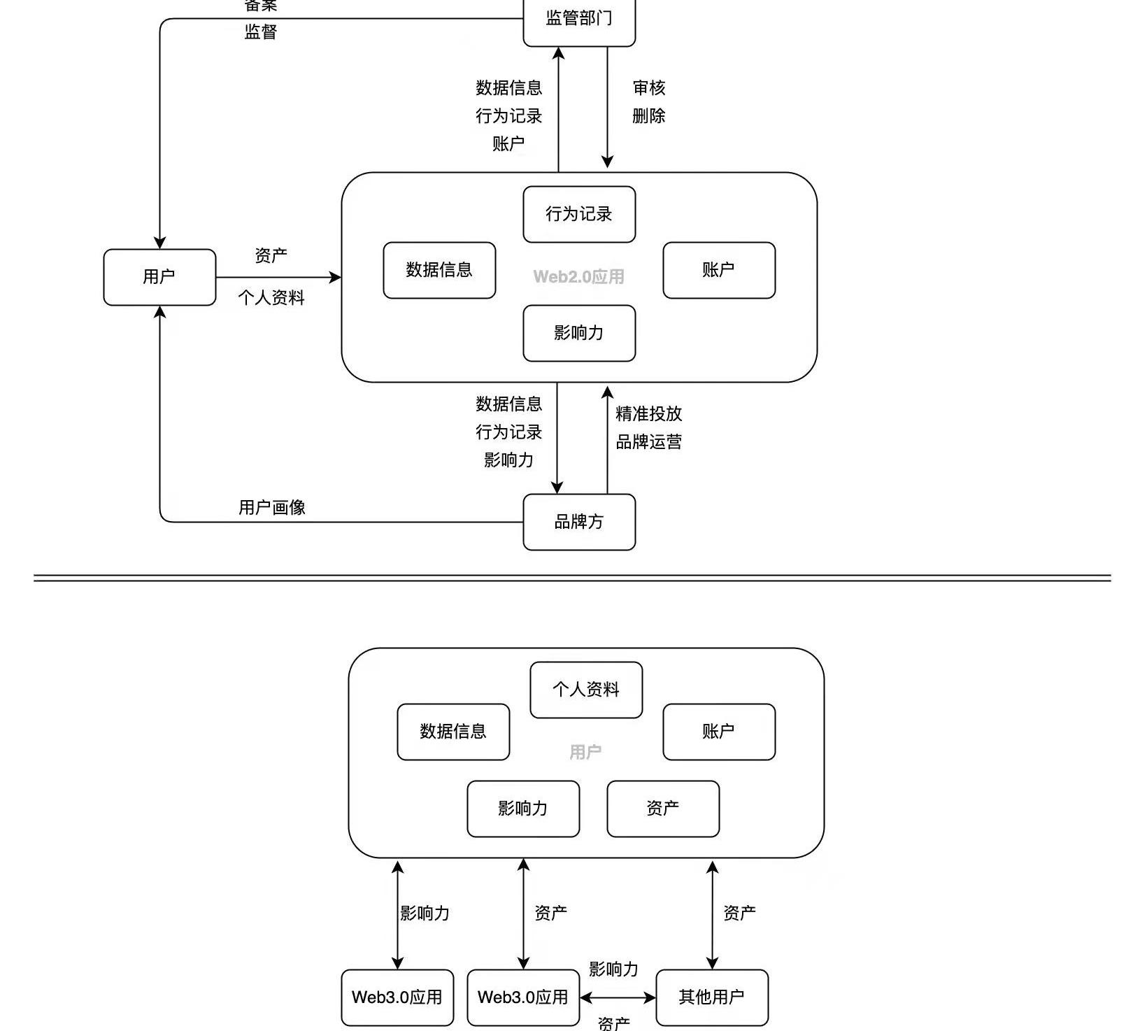
Web3.0一個很重要的命題是——讓用戶真正擁有信息和數據的所有權。對于商業模式的改變,亦或是對經濟模型、盈利模式的改變來說,這一變化可以說更是一種底層價值觀的改變。人們在Web2.0上玩游戲,注冊運營自己的自媒體賬號,甚至轉賬支付,看似游戲裝備、平臺賬號、銀行卡里的資金是屬于自己的,但實則不然,人們并未真正擁有。在Web2.0中心化的運營模式下,看似屬于人們的資產其實時刻處于“危險”之下:裝備、賬號、資金保管在平臺的中心化服務器中,如果某天平臺銷毀了這些資產、數據,用戶便“一無所有”了。Web3.0要改變這種狀況,既然用戶投入了時間、精力、金錢,那么用戶所獲得的資產天然歸其所有,用戶可以憑自身意愿隨意使用、控制、管理。

游戲
在Web2.0時代的傳統游戲的發展過程中,游戲開發商和代理商一直擁有幾乎所有的游戲資產控制權和最終解釋權,這意味著玩家們即使為這個游戲付出再多,玩家們仍然只是純粹的消費者,游戲開放商可以在條件允許的情況下修改游戲甚至玩家個人數據。但在Web3.0時代的游戲中,玩家將真正擁有屬于自己的游戲資產,游戲資產的所有權將由底層的區塊鏈技術作為保障。而真正擁有游戲資產所有權將極大的賦予游戲資產的金融屬性和敘事屬性。
請想象一下,假設你擁有魔獸世界第一次開荒首通副本的某款武器,或者是擁有Dota2里某個職業玩家高光時刻的某款皮膚,這些游戲資產都以NFT的形式永久保存下來,這無疑是極具誘惑力的。你可以選擇作為一個游戲發燒友愛好者將它們收藏起來,或者選擇以高價售出來創造利潤。
據調查,71%在游戲內有過消費經歷的玩家表示,如果他們真的可以擁有游戲資產的所有權并且可以出售,他們愿意在資產上花更多的錢。這也將極大推動游戲產業的發展——要知道,傳統游戲的付費用戶占比不到百分之二,就推動了一個價值400億美元的市場。
DID
“身份”對于我們每一個人來說都是極為重要的,因為只有證明了“我是我自己”,有了信用基礎,相關的活動才能以自主身份進行開展。現實生活中,證明自己的權威方式是擁有屬于自己的身份證,身份證上的照片及專屬于自己的數字號碼是參與現實生活各種活動的通行證。當個體不斷在社會中進行交互,如進行銀行貸款、參加工作、繳納社保、乘坐交通工具出行,各種信息、數據不斷附著在以身份證為標記的個體上,便形成一個人在社會中的身份。
在互聯網世界中,“身份”依然十分重要,甚至逐步成為了一項重要的個人資產。在目前Web2.0的互聯網框架下,由于并有專門的身份層為用戶提供驗證,人們使用各種APP時通常采取在APP上注冊賬號密碼或通過手機號、身份證號等方式進行身份驗證。這種方式一方面增加了用戶身份管理的難度,雖然目前有“一鍵登錄”的方式,但并不是所有APP都支持這一登錄方式。
另一方面,個人的數字信息、數據,網上活動留下的“痕跡”都儲存在了中心化平臺上,平臺可以不經用戶許可就可使用、透露個人信息,而原本屬于個人的信息卻不由用戶所擁有。更進一步,當個人成為某一平臺的KOL、“網紅”、大V等具有影響力的人物時,用戶這一項珍貴的“身份資產”實際掌握在平臺手上,平臺可對用戶賬號隨意使用、刪除、封鎖、限流,用戶一直處于被利用或喪失這一資產的風險之下。
Web3.0嘗試打破這一局面,讓“身份”管理更加便捷,并將“身份”附帶的價值真正歸還給用戶。DID——Web3.0用戶的身份構建體系。在DID體系中,基于區塊鏈技術,個體的身份存在于鏈上,天然具備去中心化、不可篡改、可互通、真正由用戶擁有的屬性。例如Litentry,作為去中心化的身份聚合器,可以跨多個網絡鏈接用戶身份。用戶可以通過它管理自己的身份,DApp可以跨不同區塊鏈獲取身份所有者的實時DID數據。用戶在區塊鏈上的個人信息、行為、數字資產、信用等都將聚合匯總,成為用戶綜合身份信息。比如通過Litentry在各地址上匯總的所有鏈上活動數據,用戶可以通過提交IDO/空投白名單等活動的地址以去中心化的方式生產證明。
再如Spruce試圖構建一個跨平臺、跨公鏈的身份認證系統,實現Web3.0公鏈地址和Web2.0各平臺賬號的互通與融合,一個擁有百萬粉絲的KOL去做借貸的時候可能可以獲取更優惠的抵押率和利率。在比如ENS、.bit域名項目,可以綁定區塊鏈地址、社交賬號、郵箱,并可存儲個人資料、其他信息和所有數字資源,以人類可讀的域名形式標記個體身份。Web3.0個體身體的塑造也是一個不斷豐富、不斷立體化的過程,如鏈上行為認證項目ProjectGalaxy,它對用戶身份狀態作出動態更新,這類項目并沒有給用戶一個DID,而更像是對用戶DID的不斷補充。
對用戶身份的更新補充也是Web3.0重要的一環,既然用戶在不斷進行交互行為,個體的身份、數據也在不斷變化,那么對用戶行為的實時更新也是塑造更為“準確”的“身份”的必要步驟。DID應用為Web3.0用戶構建了屬于自己的全面豐富的身份證明,用戶可以管理控制和自主使用自己的身份信息,利用DID更好地開展Web3.0和區塊鏈領域的活動,獲取利益,也可避免中心化平臺利用用戶身份信息壓榨用戶價值。
轉賬支付
轉賬支付時人們時常會遇到這些情況,當給對方轉賬后APP顯示要多少小時后才能到賬;提現時顯示要經過一段時間資金才可提出;網購退貨或者訂購的機票退票后,卻被告知要幾個工作日金額才能原路返回;用戶每天的轉賬次數、轉賬金額也會被嚴格限制,這些跡象實則表明用戶賬戶上的資金僅僅是一串數字而已,而真正的資產可能已被中心化機構使用出去了,因此Web2.0支付服務商有時無法立即響應客戶資金進行流動的需求。
用戶每天在賬戶上能看到自己的資金是多少,但可笑的是這僅僅一堆數據,而不是用戶真實所有的。基于區塊鏈技術的轉賬支付是分布式的,去中心化的,資金不存在于中心化的機構中,而是真真實實存在于用戶自己的錢包、賬戶中,用戶可以隨意的轉賬支付,不受時間、空間限制,不會被中心化機構惡意篡改和使用,也不用被中心化機構分取高昂的手續費,賬戶數據背后代表的是真金白銀。轉賬支付功能是區塊鏈技術誕生便存在的一個基本功能,既基礎又帶有巨大的變革性。雖然使用區塊轉賬支付在現實生活中目前運用的還不普遍,但我們相信,基于讓用戶真正享有資產所有權的理念下,這一轉賬支付模式將在未來大有用處。
Web3.0的挑戰與機會
Web3.0應用相對于Web2.0時代應用擁有著根本性的優勢,但新事物往往是在曲折中前進的,新的趨勢總要經歷成長期的陣痛:目前,Web3.0應用成熟度不夠,應用開發所需要的資源是巨大的,對于Web3.0的開發商乃至創業者來說,仍然面對著一定的困難,如基礎設施缺少,缺少Web3.0應用開發經驗等等。而對于傳統創業者來說更加面臨著轉型困難,轉型成本高等問題。并且Web3.0時代的應用往往意味著創業者不得不從APP百分百銷售額利潤流向開發者的模式轉變為更大比例的和用戶共享共生的模式,這可能會減少回報預期,加長回報周期。考慮到這一系列重重困難,無論是現在的Web3.0開發者和創業者還是傳統Web2.0創業者開發者進入Web3.0領域仍然面臨著挑戰。
另外,Web3.0時代區塊鏈應用的高門檻也是目前亟需解決的問題:在當前階段,相比于傳統Web2.0時代APP,Web3.0應用仍然有著較高的用戶進入門檻,例如至少需要一個錢包地址,熟悉錢包操作,或者購買公鏈代幣并且要求有基本操作常識等。這無疑為普通用戶群體的大量進入制造了困難。同時,目前大多數公鏈都有較大的運算速度限制,沒有跟上在其鏈上所搭建的產品數量的暴增和迅速涌入的流量步伐,這意味著這將導致鏈上交互成本非常高,這將導致用戶群體使用成本大大提升,直接影響APP使用體驗,甚至為整個項目的正常運轉帶來困難。
然而從長遠來看,Web3.0應用將擁有更廣泛的用戶基礎,因為有著個人信息和資產的保障和確權,加上更加優秀和符合規律的商業模型,內部經濟模型的激勵的加持,能夠使更多的用戶加入Web3.0生態經濟,并使用戶和開發者形成深層次的聯盟。相信這些將成為Web3.0應用長久發展的核心驅動力,而在經歷初生期的陣痛后,未來將一定屬于Web3.0。
Tags:WEBWEB3WEB3.0NFTweb3.0幣怎么提現到賬號MetaWeb3Padweb3.0幣圈nft幣今日價格行情
原文作者:DanielLi三箭資本,我們一般稱他為3AC,是世界上最大的以加密貨幣為重點的對沖基金公司之一。由SuZhu和KyleDavies于2012年創立,兩人是高中同學,均為投行背景.
1900/1/1 0:00:00近期的加密行業頗有點“屋漏偏逢連夜雨”的味道。在Terra崩盤、以太坊持續暴跌以及機構集中清算等的多重打擊下,市場悲觀情緒快速蔓延,熊市的聲音亦開始此起彼伏.
1900/1/1 0:00:00本周摘要: -比特幣和美國股市的相關性上周持續下降,美國股市反彈,而比特幣仍處于低位。這說明了什么?市場將如何反應?-FOMC將在6月份開始收縮資產負債表.
1900/1/1 0:00:00雖然黑客的技術經常成為頭條新聞,但對加密公司的另一個更低調的威脅正潛伏在離家更近的地方。根據Verizon的一項調查,內部人員對大約22%的安全事件負責,而金融服務行業受到的影響最為嚴重.
1900/1/1 0:00:00保險是全球經濟的引擎之一。該行業被大多數人使用,但很少有人給予應有的信譽,它是我們所知道的業務的基礎,將災難性失敗或不可預見事件的風險轉移到一個單獨的市場.
1900/1/1 0:00:00據最新消息,截至6月17日,SUN.io上的2pool(USDD/USDT)礦池流動性價值已超1.8億美元,質押價值突破9000萬美元,當前APY高達29.41%.
1900/1/1 0:00:00